Surgical Ceiling Type Exam Light Shadowless Lamp Double Heads Medical Equipment

AU$5860.99 AU$8205.38
- +

Item(s) has been added to basket successfully.

View Basket and Checkout

Features:

1. Adopting CAD/CAM overall reflection optical system, the depth of focus of main light is to 1100mm. Using color temperature compensation technology to promote the color reducibility, it's more fit for brain suregry, chest surgery and the lighting for other large complex surgery.
2. The lamp through strengthening treatment is safe and explosion-proof.
3. Microcomputer digital control can make 8 class brightness choice, with the memory function and wide working voltage characteristics, the light can work steadily in the range of electric supply AC220V ± 10%, and the antijamming capability is strong.
4. With the function of backup bulb's automatic switch, when the main light is burning out, the auxiliary light will light automatically in 3 seconds. There are main light and auxiliary light failure instructions on teh handle panel, to remind to change in time after surgery.
5. Setting up the soft device, effectively prolong the service life of the bulb, adopting the imported life-long halogen bulbs, it can work normally about 1000 hours.
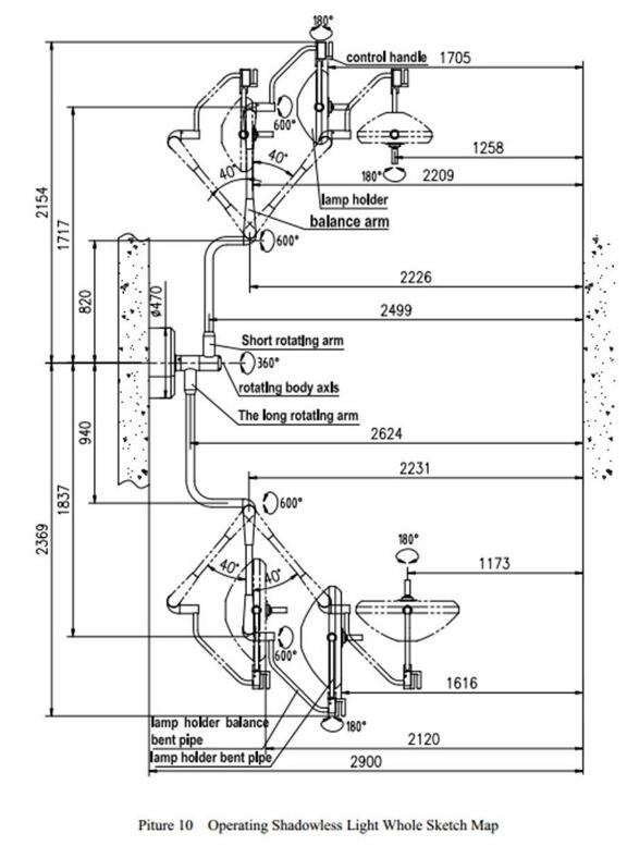
6. The light suspension system of blance arm, accurate location. The design can meet any height and angle in surgery.
7. The main parts adopt international famous-brand product, with steady and reliable operation, flame retardant materials is heat resistant and security, meets stipulations of IEC standard.
 
 
 
Specifications:
Model:D500,D500
Supply Voltage:AC 110/220V±10% 50HZ/60HZ?
Input Power:600VA
Main Blown Fuse:RT1-20, F6.3AL250V
Bulb Power:24V/120W,24V/120W
Center Illumination Ec: ≥600001Lx ,≥600001Lx
Color TemperatureTc: 4000 ±500k,4000 ±500k
Color Rendering Index: 85-100,4000 ±500k
Total Irradinance:the total irradiance of single lamp holder ≤1000w/㎡
Liiumination DepthL1+L2:≥500mm,≥500mm,
Temperature Rise:≤15 degree
Facular Diameter D10:140,140
Facular Distribution Diameter D50:75,75
Surplus Illumination when a baffle keeps out the light beam:≥15000Lx,≥15000Lx
Surplus Illumination when two baffles keep out the light beam:≥15000Lx,≥15000Lx
Surplus Illumination when two baffles keep out the light beam:≥40000Lx,≥40000Lx
Surplus Illumination at the bottom of standard deep cavity tube when a baffle keeps out the light beam:≥15000Lx,≥15000Lx
Surplus Illumination at the bottom of standard deep cavity tube when two baffles keep out the light beam:≥15000Lx,≥15000Lx
Rotating arm rotate around permance seat: 360°
Balance arm rotate around rotating arm: 600°
Balance arm rotate up and down:40°
Light arm rotate around balance arm:600°
Light body rotate around light arm:180°
SKU:MKE-M-D500/500-EU
 
Package With:
Light Carton:
D500,D500 a set of lamp holder subassembly
a set of disinfection handle (a set of light source subassembly)
four halogen bulbs (24/150W),four halogen bulbs (24/150W)
Support Carton:
a set of balance arm (7-12kg), a set of balance arm (7-12kg)
a set of stand type straight pipe subassembly
a piece of stand type bent pipe
ten cross-shape half sunk screws (M5x10)
a piece of user manual 
Base Carton:
a set of base subassembly
two set of screws (M10x16)
 
 
 
 
 
 
Dental Light Dental Supplies Dental Equipment

DELIVERY

1. HOW MUCH DO I NEED TO PAY FOR DELIVERY?
Currently we offer free shipping for all orders around AU. If you are from some remote country, you might need to pay extra shipping fee.
2. HOW LONG WILL IT TAKE TO ARRIVE?
Normally our products will be shipped from China and It needs 10-14 business days to arrive (With impact of Covid-19, it might take 5 business days longer for some areas.)

If you see green banner " 3-5 DAYS FAST SHIPPING" on the product page, then this item could be received in 3-5 business days. You can also check all items which has stock in Australia from the our top category " Stock in Australia"

3. DO ALL YOUR ITEMS HAVE AU STOCK?
Only some of our products have stock in Australia and you can receive it in 3-5 business days. You can check out category " Stock in Australia" to see which are available. Or We will also note this in description page.
4. HOW WILL I KNOW IT HAS BEEN SENT?
You will receive an email from us to confirm as soon as your item has been sent and we will also update your tracking infomation via account center. You can check your order status anytime by sign in your account or email our customer service.

REFUND

1. 12 Months Refund Warranty
We sincerely hope everything goes great with your order. However, if you need to return the item and get refund, please contact us within 14 days from the date your receive the package. Our products enjoy 12 Months Warranty. You have our refund policy guarantee.
2. Can I Cancel the order Anytime?
We accept order cancellation before the product is shipped out. (normally within 48 hours after you place the order). If the order is cancelled successfully, you will get full refund. And we will also send you confirmation letter after that.

PAYMENT

1. What is the Payment Method?
Normally We accept paypal, credit card / debit card, bank transfer. Paypal also supports Paying with Credit Card or Debit Card directly and you do not need to have an paypal account. We are working on to offer more payment methods. We sincerely appreciate your support.
2. CAN YOU PROVIDE INVOICE FOR THE PAYMENT
Yes, Please contact us via Email to send you invoice if you need.
3. ANY QUESTIONS OR SUGGESTIONS?
Please contact our customer service via service@dentalsuppliers.com.au We always stand by for you.
View History

COXO Dental Inner Channel Push Button Contra Angle CX235-1B 1:1

AU$129.99

Marathon Strong 90 Type 35.000 RPM Micro Motor

AU$189.00